Pacific Marine & Industrial Logo
Pacific Marine & Industrial®       
Manufacturing & Global Distribution: Marine, Industrial & Defense
 
Info@PacificMarine.net ◊ EnEspanol@PacificMarine.net      
 
 
How PM&I Can Help Prevent Delays
  
Free Classified Equipment Ads: Global & Comprehensive
   
Purchase ONLINE Select Products Only
  
 

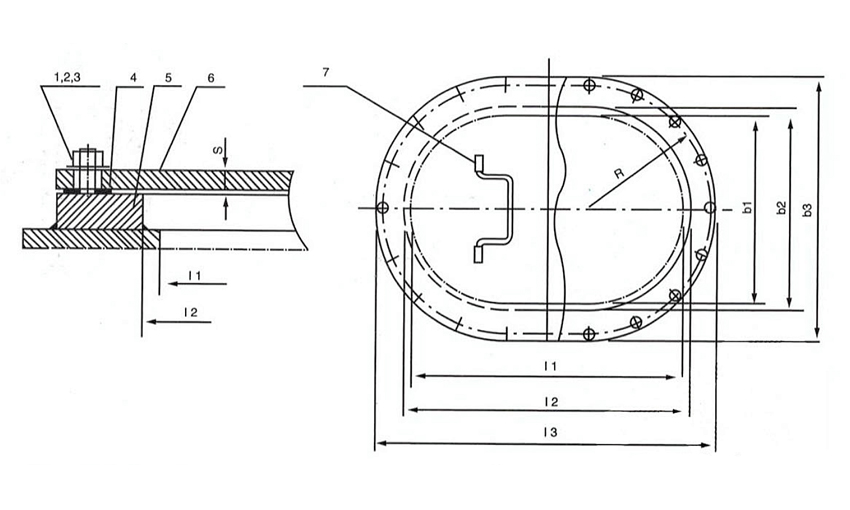
Low Profile Marine Steel Manhole Covers

Low Profile Tank Access Covers

Manhole Cover - Tank Cover Low Profile  Low Profile Marine Manhole Covers - Tank Access Cover

 

Manhole and Tank Access Covers Product Catalog

 

Marine Low Profile Manhole Cover - Tank Cover

With Handle Straps or Fixed Handles

Sizes Listed Below or Custom Hatch Sizes Available

Class Society Approved Upon Request (ABS, DNV-GL, LR, Etc.)

4mm to 18mm Plate Thickness

  

Custom Made Product On Request

   

Sizes:

450 x 350mm / 18 x 14 Inches

600 x 400mm / 24 x 16 Inches

800 x 600mm / 32 x 24 Inches

800 x 600mm / 32 x 24 Inches (Oversize)

     

Low Profile Marine Manhole Covers - Tank Access Cover

   

1. Bolt Stud
2. Nut
3. Washer
4. Gasket
5. Seat Ring
7. Swivel Handle

   

Low Profile Marine Manhole Covers - Tank Access Cover

  


Home ] Up ] Raised Steel Manhole and Tank Covers ] [ Low Profile Steel Manhole and Tank Covers ] Recessed Steel Manhole and Tank Covers ] Flush Steel Manhole and Tank Covers ] Round Steel Manhole and Tank Covers ]

   
Join PM&I's Email Newsletter List
 
Free Classified Equipment Ads: Global & Comprehensive
  
California ◊ Florida ◊ Shanghai ◊ Germany
Lagos Nigeria ◊ Valparaiso Chile ◊ Dubai UAE
Trusted Since 1985
 
   
PM&I World Wide Community Service  PM&I Partial Client List
  
Pacific Marine & Industrial is
a registered service mark of:
  
Quality Pacific Manufacturing, Inc.
Copyright 1985-2025
 All Rights Reserved - V3