Pacific Marine & Industrial Logo
Pacific Marine & Industrial®       
Manufacturing & Global Distribution: Marine, Industrial & Defense
 
Info@PacificMarine.net ◊ EnEspanol@PacificMarine.net      
 
 
How PM&I Can Help Prevent Delays
  
Free Classified Equipment Ads: Global & Comprehensive
   
Purchase ONLINE Select Products Only
  
 

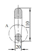
Lifting Points

Fixed Single Lifting Eye

Fixed Lifting Eye - Lifting Ring
   

PAM-M1-LIFT

  

Steel Eye Lifting Point with Welding Strap

10 Metric Ton Safe Working Load

22,000 Lbs. Safe Working Load

  

Calculations:

50 Metric Ton Breaking Load with 5:1 Safety Factor

  

Welding:

Safe and approved welding process is the responsibility of others.

  

Drawing: PAM-M1-LIFT 10 Metric Ton SWL Eye Lifting Point

   

Fixed Single Lifting Eye - Lifting Ring  Fixed Single Lifting Eye - Lifting Ring

   


Home ] Up ] Up to 56 Metric Ton U-LIFT Lifting Eye ] [ 10 Metric Ton Fixed Single Lifting Eye ] 10 Metric Ton Fixed Double Lifting Eye ] 1 Metric Ton Fixed Crinkle Bar Lifting Eye ]

   
Join PM&I's Email Newsletter List
 
Free Classified Equipment Ads: Global & Comprehensive
  
California ◊ Florida ◊ Shanghai ◊ Germany
Lagos Nigeria ◊ Valparaiso Chile ◊ Dubai UAE
Trusted Since 1985
 
   
PM&I World Wide Community Service  PM&I Partial Client List
  
Pacific Marine & Industrial is
a registered service mark of:
  
Quality Pacific Manufacturing, Inc.
Copyright 1985-2025
 All Rights Reserved - V3