Pacific Marine & Industrial Logo
Pacific Marine & Industrial®       
Manufacturing & Global Distribution: Marine, Industrial & Defense
 
Info@PacificMarine.net ◊ EnEspanol@PacificMarine.net      
 
 
How PM&I Can Help Prevent Delays
  
Free Classified Equipment Ads: Global & Comprehensive
   
Purchase ONLINE Select Products Only
  
 

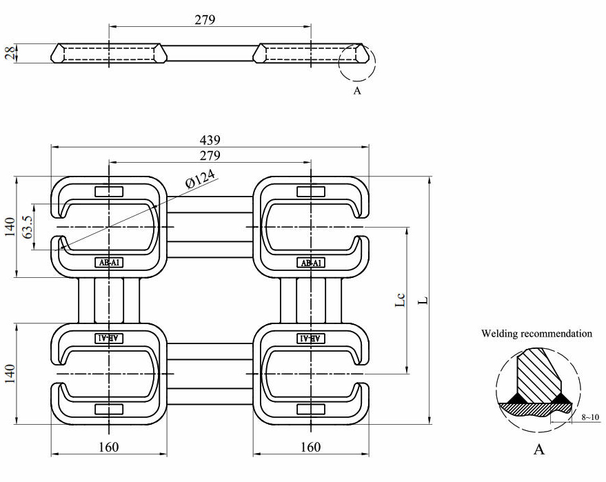
Quad Doubling Plate Container Foundation

AB-A4 Quadruple Doubling Plate

Class Society Approved: ABS, DNV-GL, CCS and Others

AB-A4 Quadruple Container Doubling Plate Welding Foundation

AB-A4 Quadruple Container Doubling Plate Welding Foundation

Quad Container Base Foundation

203 and 279 mm Centers Standard

   

Purchase ONLINE Small Quantities of Container Lashing

  

Installed Below Deck on Tank Tops

  

Counter Part: Bottom Container Stacking Cone

  

AB-A4 Quadruple Container Doubling Plate Welding Foundation
   

Return to Container Lashing Main Page

  

Purchase ONLINE Small Quantities of Container Lashing

    

Download Complete Container and Cargo Securing Catalog with Drawings

  

Container Lashing Design: Ship or Barge

  

Cargo Securing Manual Approval By Class Society

  

Container Ship Hatch Covers and Lashing Bridges

  

How Do Container Ships Work?

    

Other Related Products:

  

Container Lashing

Cargo Straps

Cargo Chain

Cargo Lashing Points

Container Lashing

Cargo Straps

Cargo Chains & Tensioners

Cargo Lashing Points

   

 

 

 

Container Lifting Systems

new shipping container for sale

Shipping Container Parts

Shipping Container Casters - Shipping Container Dolly Wheels

Container Lifting & Towing

New Shipping Containers

Shipping Container Parts

Shipping Container Casters

   


Home ] Up ] Single Doubling Welding Plate Container Foundation ] Double Doubling Welding Plate Container Foundation ] Transversal Double Doubling Welding Plate Container Foundation ] [ Quadruple Doubling Welding Plate Container Foundation ]

   
Join PM&I's Email Newsletter List
 
Free Classified Equipment Ads: Global & Comprehensive
  
California ◊ Florida ◊ Shanghai ◊ Germany
Lagos Nigeria ◊ Valparaiso Chile ◊ Dubai UAE
Trusted Since 1985
 
   
PM&I World Wide Community Service  PM&I Partial Client List
  
Pacific Marine & Industrial is
a registered service mark of:
  
Quality Pacific Manufacturing, Inc.
Copyright 1985-2025
 All Rights Reserved - V3